穴盘水稻钵苗自动送秧机构及控制系统设计与试验

    Design and experiment of automatic feeding seedling mechanism and control system for rice pot seedlings

    • 摘要:
      目的 提高水稻钵苗有序抛秧机中自动输送进给钵苗行的输送精度及可靠性,减少送秧环节的漏秧问题。
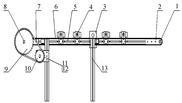
      方法 提出了钵苗行到位自动检测方案和程序实现方法,通过样机试验,分别获得基于直接在线检测秧苗茎秆、穴盘钵体和铁盘磁性凸起3种表征钵苗行到位的特征信号,概括出钵苗行到位信号的综合测量属性,确立钵苗行到位较佳的监测方案及其控制电路;设计集钵苗行到位检测及输送进给一体的皮带式自动送秧机构及控制系统。
      结果 选用塑料穴盘钵体为检测对象时,皮带式自动送秧机构送秧到位检测成功率最高,为99.78%;铁盘磁性凸起的次之,为96.64%;秧苗茎秆最差。以塑料穴盘钵体和铁盘磁性凸起为检测对象时,穴盘类型对钵苗行到位检测成功率的影响不显著(P>0.05);但以秧苗茎秆为检测对象时,则影响极显著(P < 0.01)。在3种钵苗行到位检测方案中,输送电机转速在30~60 r·min-1范围内变动时,对钵苗行到位检测效果的影响均不显著(P>0.05)。
      结论 所设计的皮带式自动送秧机构及其钵苗行到位的自动检测控制系统能够满足钵苗有序自动抛秧机对钵苗行输送进给的性能要求。

       

      Abstract:
      Objective To improve the accuracy and reliability of automatic feeding rice seedlings in the orderly throwing transplanter, and reduce the seedling loss in the seedling feeding link.
      Method A rice seedling-row-in-position detecting scheme and its practical program method were proposed, while a belt-type automatic seedling feeding mechanism (BASFM) and related control system were developed. Through prototype test, three kinds of characteristic signals representing the plug-seedling-row-in-position status were received based on direct-on-line detection of seedling stalk, plastic tray and magnetic bulge of ferric tray respectively. The synthetical measure attribute of plug-seedling-row-in-position signal was summarized. An optimal scheme to monitor plug-seedling-row-in-position and associated control circuit was established. The BASFM with functions of detecting seedling-row, transporting and feeding seedling was designed.
      Result When body of plastic tray was chosen as a detected target, the success-detect rate was the highest (99.78%), magnetic bulges aside ferric tray was higher (96.64%) and seedling stalk was the lowest. When plastic tray or magnetic bulge of ferric tray was chosen as a row detected target, tray type showed no significant effect on success-detect rate, but significant while seedling stalk was chosen as a row detected target. For three seedling-row-in-position detecting schemes, the variance of transport motor speed also showed no significant impact on the seedling-row-in-position detecting performance between 30-60 r·min-1.
      Conclusion This design of BASFM and affiliated seedling-row-in-position automatic detecting and control system can meet the performance requirements for pot-seedling-row transporting and feeding in the rice seedling orderly throwing transplanter.

       

    /

    返回文章
    返回