蔬菜移栽机可调式喂苗装置设计与试验

    Design and experiment of adjustable seedling-feeding device for vegetable transplanting machine

    • 摘要:
      目的  为扩大移栽机适用性,实现对多种规格蔬菜穴盘苗的自动取喂苗作业,本文设计了一款蔬菜移栽机可调式喂苗装置。
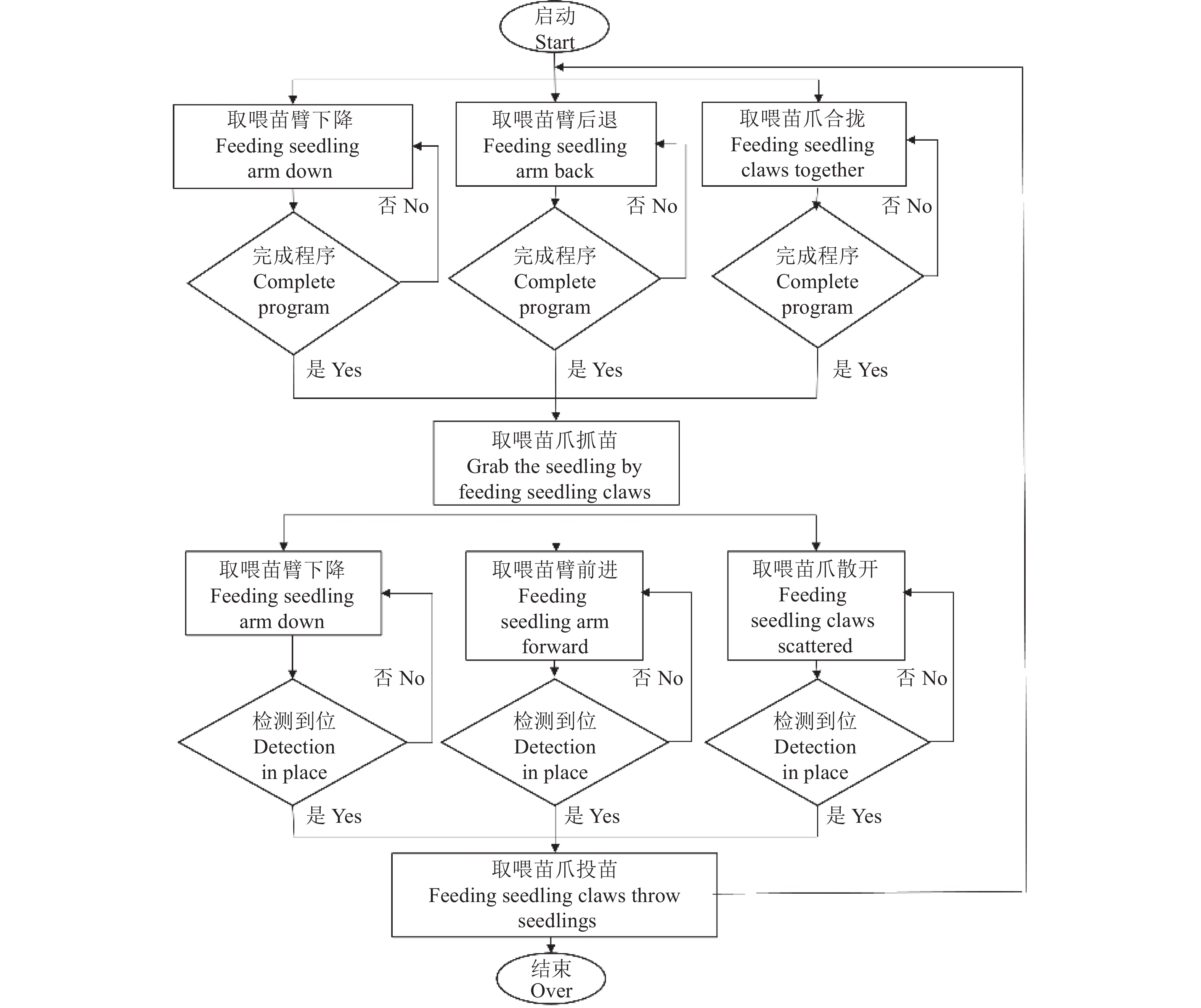
      方法  设计了带有可调节取喂苗爪的取喂苗臂,优化了喂苗爪的相关参数,并进行了运动学分析。通过调节取喂苗臂上的取喂苗爪数量及间距,选择不同的PLC控制程序,可以配套使用不同穴孔数的穴盘。通过对取喂苗工作过程分析,综合考虑影响喂苗成功率的关键性因素,以苗坨含水率、穴盘苗苗高、苗针入土深度为试验参数,选取72、105、128穴规格的生菜穴盘苗为试验对象,进行单因素试验和多因素正交试验,探究各因素对喂苗成功率的影响。
      结果  当穴盘苗基质含水率(w)为40%、苗高为50 mm、入土深度为38 mm时,可调式喂苗装置的喂苗成功率最高,72、105、128穴生菜穴盘的喂苗成功率分别为95.83%、96.19%和96.48%。
      结论  可调式喂苗装置设计符合蔬菜移栽机取喂苗的技术要求,移栽效果较好,可为通用全自动蔬菜移栽机的研制与开发提供参考。

       

      Abstract:
      Objective  In order to expand the applicability of transplanter and realize the automatic feeding of plug seedlings of various specifications of vegetables, this paper designs a universal automatic seedling-feeding device for vegetable transplanting machine.
      Method  The seedling-feeding arm with an adjustable feeding claw was designed, the key parameters were optimized and kinematic analysis was performed. Plug trays with different number of holes could be used by adjusting the number and distance of feeding claws on the seedling-feeding arm and choosing different PLC control programs. The key factors affecting the success rate of seedling feeding were comprehensively considered by analyzing the working process of seedling feeding. Taking the water content of the plug, the height of plug seedling, and the depth of seedling needle into soil as the test parameters, the plug seedlings of lettuce in 72-, 105- and 128-hole plug as the test objects, single factor experiment and multi-factor orthogonal experiment were carried out to explore the effect of different factor on the success rate of seedling feeding.
      Result  The test results showed that when the water content of plug seedling substrate was 40%, seedling height was 50 mm, and the depth of seedling needle into soil was 38 mm, the success rates of seedling feeding for adjustable seedling feeding device were the highest, and the seedling-feeding success rates of lettuce in 72-, 105- and 128-hole plug trays were 95.83%, 96.19% and 96.48%, respectively.
      Conclusion  The design of adjustable seedling-feeding device meets the technical requirements of vegetable transplanting machine for feeding seedlings, and the transplanting effect is good, which can provide a reference for research and development of the universal automatic vegetable transplanting machine.

       

    /

    返回文章
    返回