双充种型孔滚筒式杂交稻育秧精密播种器设计与试验

    Design and experiment of precision seeder with double seed filling type hole roller for hybrid rice seedling raising

    • 摘要:
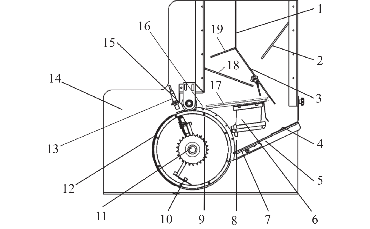
      目的  为满足杂交稻钵苗育秧低播量精密播种的农艺要求,解决型孔滚筒式育秧播种器作业过程中稻种在充种室流动性差、充种可靠性低、漏播指数高以及型孔易堵塞等问题,设计一种双充种型孔滚筒式杂交稻育秧精密播种器。
      方法  基于PLC控制技术,搭建型孔充种性能检测与控制系统,对播种器的关键部件进行设计,并通过EDEM离散元软件开展不同型孔形状、第一充种室充种位置角及生产率对充种性能影响的仿真试验,对第一充种区的型孔滚筒工作参数进行优化。研制试验样机并进行性能试验,试验材料为‘培杂泰丰’杂交稻。试验分2步:第1步,第二充种机构不动作,采用三因素三水平正交试验,研究型孔深度、生产率和第一充种室充种位置角对试验指标的影响,验证仿真准确性;第2步,启动第二充种机构,研究进行双充种作用下的不同振动频率对试验指标的影响,探明设计第二充种机构后播种性能。
      结果  第1步试验结果表明,影响播种合格指数与重播指数的因素主次顺序为型孔深度>生产率>第一充种室充种位置角;影响漏播指数的因素主次顺序为生产率>型孔深度>第一充种室充种位置角。第2步试验结果表明,当型孔形状为椭圆凹槽形,第一充种室的充种位置角为35°、第二充种室振动频率为27 Hz、生产率在400~600盘/h,播种合格指数均大于90%,漏播指数均小于3%,试验结果满足杂交稻低播量精密播种的农艺要求。
      结论  采用双充种的填充方式改善了播种器每穴的填充性能,减少了漏播指数,本研究结果为轻简型杂交稻钵苗育秧精密播种机的开发提供了理论依据。

       

      Abstract:
      Objective  In order to meet the agronomic requirements of low sowing rate and precision sowing of hybrid rice potted-seedling raising, and solve the problems of poor fluidity of rice seeds in the seed filling chamber, low seed filling reliability, high missing sowing index and easy blockage of type holes during the operation of seedling raising seeder with type hole roller, a precision seeder with double seed filling type hole roller for hybrid rice seedling raising was designed.
      Method  Based on PLC control technology, a detection and control system for type hole seed filling performance was built, and the key components were analyzed and designed. The simulation tests of the influences of the seed filling performance of different type hole shapes, the seed filling position angle of the first seed filling chamber, and the productivity on seed filling performance were carried out through EDEM discrete element software, to optimize the working parameters of the type hole roller in the first seed filling area. The experimental prototype was developed for post performance test, and rice variety was ‘Peizataifeng’ hybrid rice. The test was divided into two steps. In the first step, the second seed filling mechanism did not act, a three-factor-three-level orthogonal test was adopted to study the effects of type hole depth, productivity and seed filling position angle of the first seed filling chamber on the test indexes, and verify the accuracy of the simulation research. The second step was through the action of the second seed filling mechanism to study the effects of different vibration frequencies on the test indexes under double seed filling, and prove the sowing performance after designing the second seed filling mechanism.
      Result  The results of the first step showed that the order of factors affecting qualified index and replay sowing index was type hole depth > productivity > seed filling position angle of the first filling chamber; The order of the factors affecting the missing sowing index was productivity > type hole depth > seed filling position angle of the first filling chamber. The results of the second step showed that when the type hole shape was oval groove, the seed filling position angle of the first seed filling chamber was 35°, the vibration frequency of the second seed filling chamber was 27 Hz and the productivity was 400−600 discs/h, the qualified index of sowing was above 90%, and the missing sowing index was below 3%. The test results met the agronomic requirements of low sowing rate and precision sowing of hybrid rice.
      Conclusion  The double seed filling method improves the filling performance of each hole of the seeder and reduces the missing sowing index. The results of this study provide references for developing the light and simple precision seeder for hybrid rice potted-seedling raising.

       

    /

    返回文章
    返回