气吸式辣椒精量穴直播机的研制与试验

    Development and test of an air-suction type precision direct seeding machine for pepper

    • 摘要:
      目的  针对辣椒种植育苗移栽方式存在的成本高、劳动强度大和生产效率低等问题,结合南方辣椒种植模式和农艺要求,研制一种气吸式辣椒精量穴直播机。
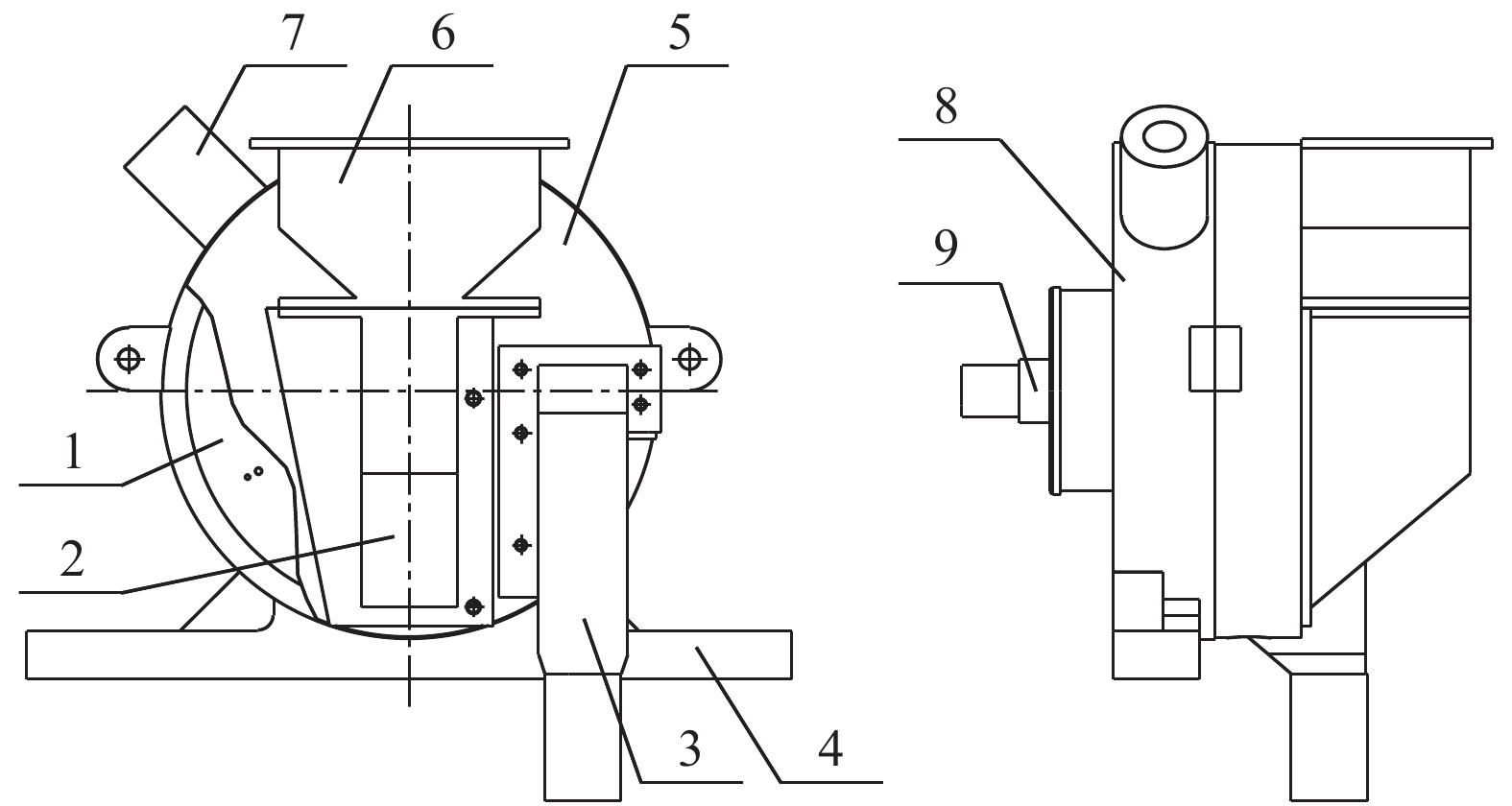
      方法  该机具由主机架、仿形机构、风机、传动系统、变速器、气吸式排种器、开沟装置和镇压装置等组成,可一次完成开沟、播种、覆土和镇压作业。利用负压取种和断压排种的原理,根据辣椒种子物理特性和播种要求,确定了气吸式排种器排种盘尺寸、排种孔数量和大小,满足播种精度和播种量要求。播种部分通过平行四杆仿形机构与主机架连接,可实现播种单体对地仿形,保证开沟和播种深度。
      结果  播种量1~3粒/穴的平均合格率为91.16%,平均漏播率为0.18%,平均重播率为8.66%。不同穴距试验的播种穴距合格指数均大于89%,重播指数均小于4.85%,漏播指数均小于11%,穴距变异系数均小于23.77%,播深合格率为86%。
      结论  整机工作性能满足辣椒种植要求,本研究可为蔬菜精密播种机的研制和开发提供参考。

       

      Abstract:
      Objective  To solve the problems of high cost, high labor intensity and low production efficiency in pepper planting, seeding and transplanting, an air-suction type precision direct seeding machine for pepper was developed considering pepper planting pattern and agronomic requirements in south area.
      Method  The machine consists of a main frame, a copying mechanism, a fan, a transmission system, a derailleur, an air-suction seed device, a ditching device and a pressing device, which can complete the ditching, seeding, soil covering and pressing operations at one time. The seed metering machine uses the principle of taking seeds by negative pressure and discharging seeds by breaking pressure. According to the seeding requirements and physical characteristics of pepper seeds, the size of seeding plate, the number and size of seeding holes were determined. Sowing precision and quantity requirements were ensured. The seeding part is connected with the main frame by a parallel four-bar copying mechanism, so as to realize the ground copying of the seeding monomer and ensure the ditching and seeding depth.
      Result  Field test results showed that the average qualified rate of 1−3 grains/hole was 91.16%, the average leakage seeding rate was 0.18%, and the average repeat seeding rate was 8.66%. In tests of different hole distances, qualified rates for different hole distances were above 89%, the repeat rate was below 4.85%, the leakage seeding rate were below 11%, the coefficients of variations of the hole distances were below 23.77%, and the qualified rate of seeding depth was 86%.
      Conclusion  The working performance of the whole machine meets the requirements for pepper planting. This research can provide a reference for the research and development of precision vegetable seeders.

       

    /

    返回文章
    返回